


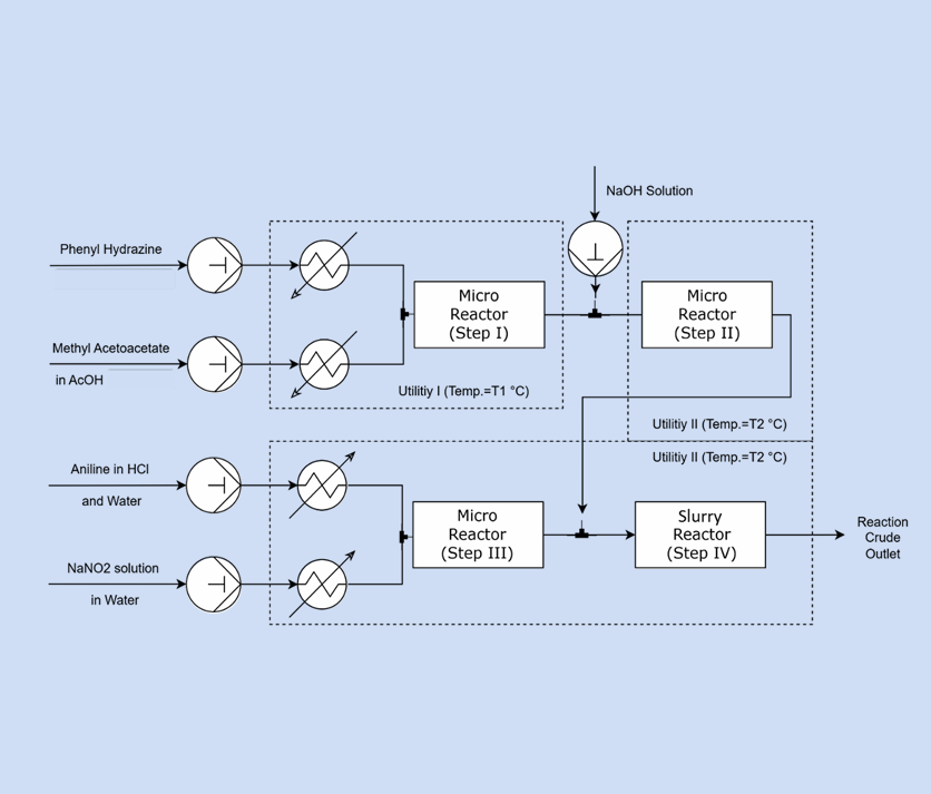
Continuous Telescopic Synthesis and Optimization of Sudan Yellow-3G in AmarFLO Reactors using ReactWise.



Quantitative In Silico Prediction of the Rate of Protodeboronation by a Mechanistic Density Functional Theory-Aided Algorithm.



The effect of chemical representation on active machine learning towards closed-loop optimization.